そばな高原鉄道鉄道館> 排水・凍結対策急行 home  行き(クリック)

凍結深度の測定
雪解け水や地下水が排水されないまま凍結すると,コンクリートの基礎ごと構造物を持ち上げてしまいます。
この破壊力は想像以上で,鉄道建設の最初の冬から被害がでました。対策のため,真冬に地下がどこまで凍るのか調べてみました。
方法は13mmの水道管を調べたい深さまで地中に差し込み,その中にコード付きの最高,最低温度計のセンサー部を入れて最高,最低温度を調べます。(右図)
結果は50cm以上深ければ地中の温度はほぼ一定で,凍結被害が避けられることが分かりました。
また,地下50cmの溜め枡を時々覗いて真冬でも水が流れていることを確認しています。
それ以降,路盤排水溝,排水パイプ の基礎は地下50cmよりも深い所に設置しています。
排水・凍結対策
(1) トンネル

トンネルは地中の構造物なので排水対策が中心になります。
 右図 のようにコンクリート製のヒューム管を砂利層の中に通し,砂利層には水抜きパイプを設けてヒューム管の接続部からトンネル内部に水が染み出さないようにしてあります。
また,ヒューム管は中央から両出口に向かって10/1000の水勾配をとってあります。この構造でトンネルは常に乾燥状態を維持しています。

トンネルを

(2)擁壁
春の雪解け時期に泥濘(ぬかるみ)が出来る場所に路盤の工事をしました。
ここは凍結の危険度が特に高いので,排水パイプと点検用の桝を設置します。
桝の下部にはブロックを加工した台を置き,地下60cmに排水パイプが通ります。
(写真は路盤ブロックを2段積んだ段階で,補修時に参考になるように、設置場所に排水パイプを置いて記録撮影したものです。 画像処理の為,合成写真のように見えますが合成ではありません。)

パイプを設置した上は砂利で埋め戻します。

その後の状況排水,凍結などで問題は生じていませんが,砂利の上に植物が生えるので,土と水が混入してきていると思われます。(砂利層の深さは60cmでも,擁壁の下が掘れないので幅が30〜50cmと狭く作られているのが原因 かも知れません。)

(3)路盤
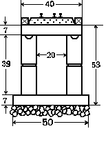
路盤の対策は主として凍結対策です。雪解け水や地下水が凍結すると路盤は簡単に持ち上げられます。
そのため,地下50cmのところにコンクリートの基礎をつくり,2段積の平行なブロック「塀」をこの上に置き,この「塀」によって路盤を支える構造になっています。(右図)

詳しくは路盤のページをご覧下さい。路盤を

(4)排水溝
鉄道の構造物ではありませんが,夏に雨水のための排水溝を作ったところ,冬の凍結で数年後には完全に破壊されました。そのため凍結し難い構造の排水溝( 左図)を作ってみました。

(ABCDEの説明は→)排水溝を


に戻る