そばな高原鉄道軌条の敷設>枕木急行 home  行き
枕木はすべて大きな板材をカットして作ります。トンネルおよび鉄橋区間以外はすべて同じサイズの枕木を使用しています。
枕木の樹種を決める
大型模型鉄道の枕木に適する樹種を検討してみました。

要求される材質
(1)
重量に耐え,レールを固定するネジや釘が強く締められる硬さ。
(2)枕木として小さな木片にカットするので材質が均等で節や割れ目が少ない。
(3)日射や風雨に晒されても反りやねじれがでない。
(4)犬釘などを打っても割れにくい。
等の性質が考えられます。

保守管理面から
野外で直接,地面に置かれますから,腐りにくく,虫の食害に遭わな木でなければなりません。防腐塗料によりこの性質を強化できますが, 土や砂の付いた小さな木片を再塗装するのは大変です。耐腐食性が強い薬剤を含む塗料は毒性も心配です。
敷設している枕木の樹種(2012.6)

ウリン
樹種を検討する中で条件に合った木を見つけました。名前はウリン,別名アイアンウッド。
強度・・・・・.枕木を拍子木の様に打つと同じ音がでる堅さです。変形に対しても非常に強い。
均質性.・・・節や木目が分からないほど均質で,割れない。
耐腐食・・・50年は腐らず,「虫も食えない」 といわれているそうです。
塗装・・・・・必要なし。実際の鉄道の新品枕木の色に近い。濡れると濃い赤紫色
注意点・・・雨に濡れると樹液が出てコンクリートを着色する。堅くて重いので長尺材は怪我をしないようにと思って取り扱う。

セラガンバツ
ウリンに近い性質で,濡れると色が出るウリンの問題点が無いので,場所によってウリンと使い分けています。乾燥したときの色はウリンよりも薄くなります。 下穴の開け方がわるいと犬釘を打つと割れることがある。


国産材では水に強くて入手しやすいヒノキ,ヒバなどが使われているようですが,アカマツの枕木ではどの様になるか調べています。(使用例/下段)

SPF材
低価格の2×4材として販売されている3樹種混合の板材です。水濡れの心配がなく,枕木が見えない条件下(=トンネル内)で1×4板材を枕木にしています。(使用例/下段)

イペ
基本的にはウリンと同等の強度と耐水性があり,枕木に最適な樹種ではないかと思います。木目も綺麗でウリンのような樹液の染み出しもありません。

ウリン,その他の枕木の経年変化は鉄道館にまとめる予定です 。
枕木への加工(製材)

ウリン 購入した板材の寸法に合わせて,端材がでないように, 巾23mm,厚さ21mmの枕木に加工しました。
堅い木なのでカットにはよく切れる刃を使い,時間も多くかかります。テーブルソーでのカットの場合,500本作るのに約4時間位の作業でした。

セラガンバツ 板材が2000×105×20mmという理想的な寸法だったので,ほぼスケールの枕木に端材も無く製材できました。実寸の枕木〔長さ2100mm,幅200mm〕を5インチ ゲージの枕木 (縮尺=1/8.4)にすると長さ250mm,幅24mmになります。

≪板材の加工≫

(1) テーブルソーで2000×24×20mmの棒材にカットしました。
(写真上)この棒材が約300本の枕木になります。カットする作業時間は約2時間です。

(2) 次に,長さ250mmの枕木にカットしました。
(写真下)約300本の枕木にカットする作業時間は約1時間です。
鉄橋(デッキガーダー桁)の枕木
鉄橋(第1橋梁)上では枕木が特に目立つので,スケールの枕木を作りました。
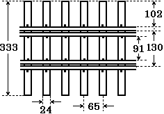
サイズは左図のようになります。ただし,軌間にはスラックが含まれています。

枕木の樹種は価格が安く,加工が楽なアカマツを使用してみました。
ウリン板材は枕木に必要な厚さが24mmに足らず,樹液による着色が気になるので鉄橋上では使用を避けました。

詳しくは,橋梁の項をご覧ください。
トンネル内の枕木
トンネル内の軌道は 外部とは異なる条件下にあるのでそれに合わせた枕木です。
とにかく狭くて奥行きもあるトンネルなので「坑内作業」(点検/補修)を軽減できることが必須です。


左図は路盤の形状(ヒューム管の円筒内/凹面)に合わせて長さが短く,頑丈でメンテナンスをほとんど必要としない 枕木です。発想を変えた板状の枕木もこの場所では長所が生かせます。


枕木の樹種は,日光や風雨の影響を受けないので価格が安く,加工が楽なSPF材(1×4)です。

詳しくは,軌きょうの項をご覧ください。


 軌条の敷設/支線 ・路線図  




OXXXXXXXXXXXXXXXXXXXXXXXXXXXXXXXXXXXXXXXO