車輌製作運転用ボギー車>ブレーキ 急行 home  行 き
ブレーキの構造

運転用ボギー車

ボギー車はレールの曲線部 も快適に走行しますが,台車にブレーキを取り付けるとなると話が面倒になります。

それは,ボギー台車はカーブの線形に沿って自由に旋回できることが前提条件で,この動きを妨げる力を外部から加えると脱線を誘発します。

一方,ブレーキは強い制動力を車輪に加える必要があり,この力の加え方によっては台車の旋回を妨げる恐れがあります。
台車の旋回を妨げず車輪のみに力を加える構造を考えなければなりません。・・・・これはちょっとした「難問」です。
(注)
台車そのものに乗っている状態の固定2軸車 ではこの問題がおこりません。また,電磁ブレーキ,エアブレーキ,ワイヤーシャフト利用のブレーキなど,台車の<内力>として車輪に制動力を加えれば実車と同じですから これも問題はありません。しかし,製作する<運転用ボギー車>は台車の外部に取り付けたブレーキ梃子からの<外力>を台車に加えて車輪の回転を止めたいので簡単ではありません。
 (補足*1

この「難問」はクイズ的な面白さがあるのでどのように解決すればよいか人に聞いたり,資料(誰かのアイデアの借用)に頼らず,自分の考えで乗り越えないと「自作」の意味がありません。
あれこれ考えた末,一つの「解答」として製作したブレーキをご紹介します。

ブレーキの構造<基本的な考え方 >

回転する物体に外から力を加えても回転に影響を与えないのは,加える力の作用 線が物体の回転軸上を通るとき(加えた力のモーメント=0になるとき)に限られます。

そこで,台車への力の作用点を台車の回転軸の位置(センターピンの真下)にし, この点に加えた力を4つの車輪に配分すればよいことになります。

このとき,注意しなければならないのは車輪への制動力の配分です。
車輪を車軸に固定しない構造(参照:車輪と車軸の関係なので,1車輌8個の車輪に均等な制動力が働くことが理想です。
もし,制動力が均等に働かず,1輪のみがロックされた状態が起こりますと,この車輪はレールとの摩擦で引きずられ台車に回転
(旋回)力が生じます。この状態は条件次第では脱線にもつながります。

また,1編成の列車の運動量はかなり大きく,短時間に停止させるための制動力は実車のブレーキを1/8.4の縮尺で作っても対応できません。それなりの剛性を備えた「小型乗用車両」としての実用的な構造が必要です。

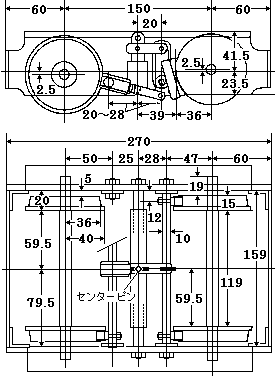
各部分の構造

(1) ブレーキ梃子から台車への力

図が製作した部品と構造です。ボギー台車に梃子からの力 f を張力の形で伝え,前後に均等な力を作用させます。

1本の棒の押し引きによって前後の台車に力を加える構造(前が押しならば後は引き)にすればもっと簡単になります。ただ,前後に作用させる力を等しくし,力の作用線を一定にするために右図のような引っ張り力の構造にしました。

(2) 台車から車輪への力

ブレーキ梃子からの引っ張り力は台車のセンターピンの位置を作用点にして加えます。

製作した構造では厳密には作用点が移動します。ただ,作用点の位置がセンターピンの真下からずれている時は作用している力も弱いので,大きな力のモーメントにはなりません。
8個の車輪を完全にロックする強い制動力の時には作用点がセンターピンの真下に移動してくるように調整し,台車の旋回力のモーメントを0にします。
(右図) 梃子を引いてDに加えられた力f はリンクしたEとIとの動きによって,制輪子を取り付けた2本の棒(10mm鉄丸棒/図の破線)の間隔を押し拡げ,内側から4つの車輪を制動します。
これらのリンク部分は6箇所の支点(図の黒丸はその一部)を軸にして回転します。これらの軸は各々の位置で台車枠に取り付けられています。

ブレーキをかけて車輪をロックして回らない状態にし ます。このとき,前後の台車ともまったく抵抗を受けずに自由に旋回させることができれば部品 I の長さ(ネジで長さを調節)が適正に調整されていることになります。補足*2

(左図) 通常走行時とブレーキの作動時における各部の動きの概念図です。

(下図) 製作した各部品の形と大きさです。

(3) 車輪の制動

左右の車輪が車軸に固定された輪軸では「片効き」が起こりませんが,車輪が車軸と無関係に回る独立回転車輪では左右の車輪に等しい制動力をかけて「片効き」が起こらないようにする必要があります。
「片効き 」がおこると台車には旋回力(回転力)が生じるはずで,旋回力がポイントやクロッシング部の通過時に発生すると脱線の危険が高くなります。

制輪子はブレーキの性能を左右する重要な箇所です。模型車輌でも実車と同じように金属製のものが使われているようですが,小さすぎるし十分な摩擦力が得られ ないのではないかと考え,自転車部品のブレーキシューを使う方法を思いつきました。
低価格(1個/105円)で頑丈な構造にまとめるのには好都合な素材です。
(右写真)
ゴムの制輪子は金属製に比べて密着する感じになり強力なブレーキがかかります。自作で金属にゴムを接合するのはたいへんですが,この自転車部品はネジまで付いて最適な形をしています。我ながら上手いものを「発見」したと思っています。このネジを利用し径10mmの軟鉄棒に直接取り付けました。

ブレーキを取り付けた台車

(左写真) 台車中央の鍵形金具(この真上がセンターピンの位置です)に付けられた長い棒を引くと4個の車輪にブレーキがかかります。
(右写真) 台車の下から見たブレーキの機構です。平行する2本の鉄棒の間隔を梃子によって拡げ,4個のブレーキシューが車輪を制動する部分です。

●補足(*1) 車輪の制動を<内力にするか<外力>にするかの違いは,次の例もご参考に。いま,回転している地球儀があり,この地球儀上の1点に印を付けたいとします。 その方法として地球儀の上に乗って一緒に回りながら印を付けるやり方が<内力>による方法に相当します。一方,回転している地球儀の外から印を付ける方法が<外力>です。乗ることが可能かどうかは別として乗って印を付ける(=制動する)やり方 なら地球儀(=台車)の回転を妨げることも無く 印を付けられますが,外から地球儀に触る付け方は地球儀の運動を妨げます。

●補足
(*2) 車輪がロックされて回らない状態なのに台車が自由に旋回出来るのは結構面白い感じです。上記(補足*1)の<外力>による制動は難しいことに思えましたが,低価格,簡単な構造で案外うまくいくものです。

製作費  軟鉄材(丸棒・フラットバー) 約1000円  ブレーキシュー(自転車用・8個) 840円  ネジ類・他 約700円     ブレーキ部分製作費/合計 約2540円

 

 運転用ボギー車menu  ブレーキの構造

台車の製作 表示中  車体の製作 塗装/組立